數控機床的進給系統要獲得較高的傳動剛度,除了加強滾珠絲杠副本身的剛度外,滾珠絲杠的正確安裝及支承結構的剛度也是非常重要的因素。如為減少受力后的變形,螺母座應有加強筋,并且要連接可靠。另外,采用高剛度的推力角接觸球軸承并合理配置可提高滾珠絲杠的軸向承載能力。
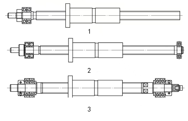
滾珠絲杠有以下幾種支承方式,如下圖所示。
一、圖1所示為僅一端安裝角接觸球軸承的方式。這種安裝方式的承載能力小,軸向剛度低。一般用于進給軸較短或垂直坐標進給傳動結構。
1. 結構特點:
固定端采用一對角接觸球軸承或圓錐滾子軸承,能承受較大的軸向力和徑向力。
自由端則沒有支撐軸承,絲杠可以在軸向和徑向有一定的游動。
2. 適用場景:
適用于行程小、轉速低的場合。
由于自由端的絲杠可以自由伸縮,所以在一些對精度要求不高的短行程設備中較為常見。

二、圖2所示為一端安裝角接觸球軸承,另一端安裝深溝球軸承的方式。此種方式用于絲杠較長的情況,當熱變形造成絲杠伸長時,其一端固定,另一端能作微量的軸向浮動。
1. 結構特點:
固定端與“一端固定,一端自由”的方式類似,采用能承受軸向力和徑向力的軸承。
游動端采用一個深溝球軸承,只承受徑向力,允許絲杠在軸向有一定的游動。
2. 適用場景:
適用于中等行程、轉速適中的場合。
這種支承方式可以在一定程度上補償絲杠的熱伸長,減少熱變形對精度的影響。
三、圖3所示為兩端安裝角接觸球軸承的方式。這樣做有助于提高剛度,但對熱變形較為敏感。所以這種安裝方式要對絲杠進行預拉伸安裝。
1. 結構特點:
兩端均采用一對角接觸球軸承或圓錐滾子軸承,通過預緊可以提高絲杠的軸向剛度和定位精度。
2. 適用場景:
適用于長行程、高轉速、高精度的場合。
兩端固定可以有效地限制絲杠的軸向竄動,保證傳動精度,但對安裝精度要求較高,且需要考慮絲杠的熱伸長問題。