龍門加工中心以其獨特的龍門式結構設計為基礎,結合先進的數控技術,實現了對復雜工件的高精度加工。龍門加工中心的工作原理主要基于以下幾個方面:
一、龍門結構設計
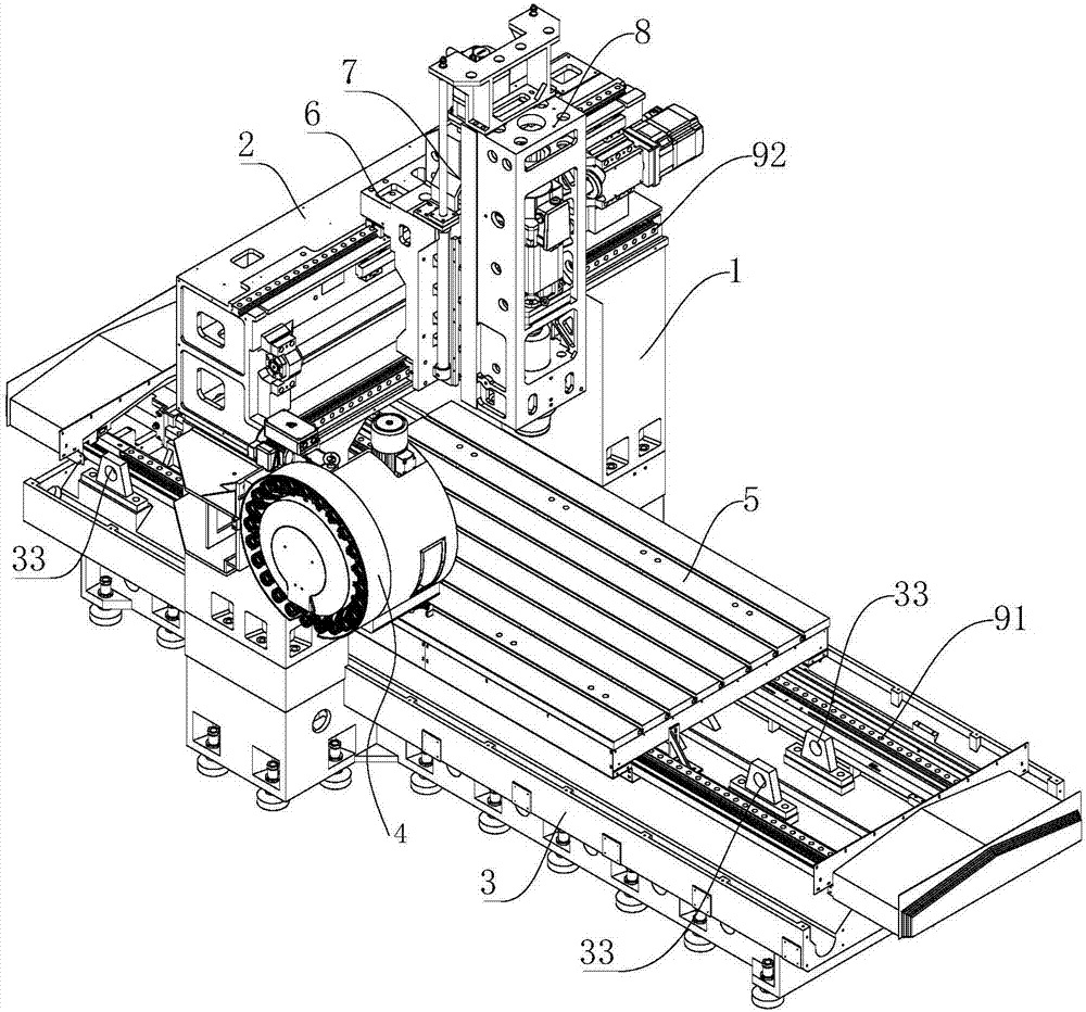
龍門加工中心的核心是其橫跨機床左右兩側的橫梁(龍門),這個結構為機床提供了強大的剛性和穩定性。橫梁上通常裝有可移動的鏜銑頭或刀具庫,這些部件能夠在橫梁上沿X軸方向移動,實現橫向加工。
二、工作臺與工件固定
工件被牢固地夾持在工作臺上,工作臺可以沿Y軸(垂直于橫梁的方向)和Z軸(垂直于工作臺表面的方向)移動。這種多軸移動能力使得龍門加工中心能夠加工出復雜的三維形狀。

三、數控系統控制
龍門加工中心配備有先進的數控系統(CNC),該系統根據預設的加工程序控制機床的運動。加工程序通常通過CAD/CAM軟件設計并生成,詳細指定了刀具路徑、切削速度、進給率等參數。在加工過程中,數控系統根據程序指令控制工作臺和刀具的運動,實現自動化加工。
四、刀具選擇與更換
龍門加工中心可能配備有多種刀具,這些刀具可以根據加工需求自動或手動更換。刀具通過主軸高速旋轉,對工件進行切削、鉆孔、鏜孔等加工操作。
五、加工過程
加工過程通常包括以下幾個步驟:
1. 工作臺首先沿Y軸移動至指定位置。
2. 刀具沿X軸移動到加工起始點。
3. 刀具開始旋轉,同時工作臺沿Z軸下降,使刀具與工件接觸并開始切削。
4. 隨著加工的進行,工作臺和刀具會根據程序指令進行連續或間斷的移動,以完成預定的加工形狀。
六、冷卻液與潤滑
在加工過程中,為了降低刀具和工件的磨損、提高加工質量,通常會使用冷卻液對切削區域進行冷卻和潤滑。同時,機床的導軌、軸承等部件也需要定期潤滑,以確保機床的平穩運行。
七、加工完成與檢測
加工完成后,龍門加工中心會自動停止運動,并回到初始位置。此時可以對加工后的工件進行檢測,以驗證加工精度和質量是否符合要求。
綜上所述,龍門加工中心的工作原理主要基于其獨特的龍門式結構設計和先進的數控技術,通過精確控制工作臺和刀具的運動,實現對復雜工件的高精度加工。